
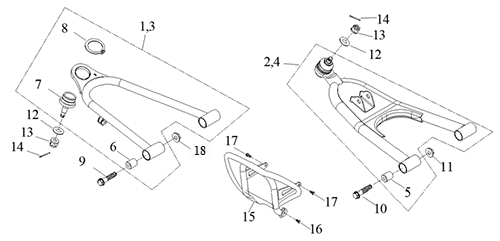
#11 Nut - Lower A-Arm #M10x1.25
by McMaster
Original price
$1.99
-
Original price
$1.99
Original price
$1.99
$1.99
-
$1.99
Current price
$1.99
GENUINE DRR OEM PARTS - IF BUYING FROM OTHER SITES MAKE SURE THEY ARE SELLIGN OEM QUALITY AND NOT CHINESE KNOCK OFF PARTS
Vendor: McMaster
SKU: 95108A103-AARM